九州官方网页版_九州(中国)

行业知识

火电厂锅炉三大风机作用

2023-07-28 09:28:41 九州官方网页版_九州(中国)

火电厂锅炉三大风机作用

一、火电厂锅炉三大风机

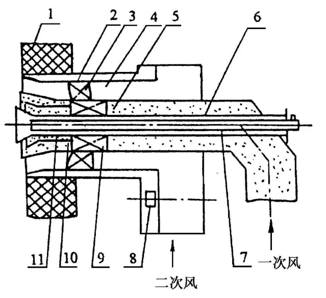
引风机 :将燃烧后烟气抽出炉膛;送风机:为锅炉提供燃烧用空气;一次风机:干燥并输送煤粉进入炉膛。

一般都是 50% 容量配置即双送双吸双一次风机,通常称为六大风机。

图片关键词

二、风机的各自作用

送风机 :提供二次风,通过空气预热器后,一部分到燃烧器提供周界风,夹心风等,对喷燃器处的火焰有影响,同时可以冷却喷燃器。另一部分提供锅炉燃烧所需要的氧量。最后还有一部是提供SOFA 和 COFA 风,调整燃烧使用。

图片关键词

一次风机 :(以中速磨煤机,直吹式制粉系统为例)一次风机提供一次风,从风机出来分为两路, 一路经过空预器后叫做热一次风,一路不经过空预器的叫冷一次风。其中,热一次风为磨煤机提供干燥出力和通风出力,将磨煤机磨好的煤粉干燥后携带煤粉进入到锅炉燃烧器。冷一次风与热一次风在磨煤机的入口处进行混合,起到调节磨煤机进出口温度的作用,同时也是磨煤机通风出力的一部分。

图片关键词

引风机 :引风机是将锅炉的烟气抽出,维持锅炉负压的作用。烟气经过空预器电除尘后进入到引风机,引风机将其送入到脱硫系统或直接排入到烟囱。

图片关键词

三、一次风和二次风的区别

一次风由一次风机引入,用于携带煤粉进入炉膛。

二次风由二次风机引入,用于补充燃烧所需的空气,经大风箱分配后,分层布置吹入炉膛,二次风一般占到锅炉总风量的60%。

图片关键词

1、一次风量的调整

为保证锅炉有良好的工况和较高的热效率,在运行中应根据煤质和负荷的变化及时地调整一 次风量,同时根据燃料燃烧,底料流化床温变化和料层差压的情况合理配风。如果配风过低,就不能使燃料充分燃烧,时间稍长,还会有结焦的危险;风量过大,又会使床温降低,同样会使燃料无法充分燃烧,排烟热损失也相应增大。另外需要强调的是当冷炉点火启动时,应根据底料的实际粒度和冷态实验情况,合理的调配最低流化风量,以防引起低温结焦。低负荷运行时,一次风量不能低于最低风量,否则就有结焦和灭火的可能。

图片关键词

2、二次风量的调整

投入和调整二次风量的基本原则是:一次风调整流化、 炉温和料层差压, 二次风控制总风量 。当总风量不足时,可逐渐开启二次风小风门投入二次风,一般约在40t/h 负荷时投入较为适合。随着锅炉负荷的不断增加,二次风逐渐增大,当达到额定蒸发量左右时,一、二次风的配比约占 50%左右,此时过热器后氧量仍控制在3-5%左右。

应当注意的是投入二次风一定要根据负荷和炉温的不断升高、逐渐缓慢进行,切忌快速大量 的投入。因此时锅炉刚刚投运,炉内热强度还很低、系统燃烧还不够稳定,此时如大量快速的投入温度较低的二次风, 势必造成炉温较大的波动,给运行调整带来许多困难,如果控制不好会造成灭火。

四、其它风机

增压风机 :从引风机出来的风一路进入到增压风机,一路通过旁路进入到烟囱。(旁路在发电机组正常运行时不允许打开,否则不经过脱硫的烟气环保不达标,只有脱硫系统出现事故情况下才允许打开)增压风机出来的风进入到脱硫系统中将烟气脱硫后排入烟囱。

密封风机 :风源取自冷一次风管道。密封风机为给煤机和磨煤机提供密封风用,其中磨煤机的密封风分为磨辊、磨碗、加载弹簧等部位。

稀释风机 :以前的机组基本没有这个,因为这个风机是提供机组脱硝用的,为脱硝系统提供空气用来稀释氨气。


九州官方网页版_九州(中国)
产品
新闻
联系